Calling all Fletcher-class (DD-445) fans

Destroyers and Destroyer Escorts of all nations and eras.
DD, DDE, DE, FF, FFG, and DDR.

Moderators: BB62vet, MartinJQuinn, Timmy C, Gernot, Olaf Held, Dan K, HMAS, ModelMonkey

Post Reply
PeterE
Posts: 35
Joined: Wed Dec 24, 2008 6:22 pm

Re:

Post by PeterE »

Cadman wrote:Well, it looks like Rick was right all along. The O'Bannon was NOT in Ms-12 mod during the Guadalcanal battles. Ron Smith was kind enough to supply me with photo's that clearly show the O'Bannon in drydock, complete with damaged bow, and she definitely bear no trace of anything but 5N on the hull. The upper works appears to be in 5N as well. The only trace of another color is some lighter gray on the forward 20 mm guns shields.

In those damage report documents there is a reference to the 1.1 director platforms. Would this be evidence that she still had her 1.1 gun?
Tim,
This link is no longer working. I went to the side and tried to find them but didn't/couldn't. Are they available anywhere else? As Rick points out O'Bannon was in MS-21 at that time, I just need to see more details of her, specially the stern/fantail area. Not sure at this point if she carried the smoke generators.
Rob Wood
Posts: 78
Joined: Tue Jul 10, 2012 2:56 pm

Re: Calling all USS Fletcher class (DD) fans

Post by Rob Wood »

Rick E Davis wrote:Nice photos and would be useful for someone building a model of USS LAFFEY or one of her sisters.

But, LAFFEY is a SUMNER class destroyer, not a FLETCHER class destroyer.

I suggest reposting under the Calling all SUMNER/GEARING class Fans thread ... viewtopic.php?f=49&t=21795 ...
True, but much of the same equipment for details.

Rob
Rick E Davis
Posts: 3869
Joined: Thu May 29, 2008 8:02 pm

Re: Calling all USS Fletcher class (DD) fans

Post by Rick E Davis »

Pete,

O'BANNON would have had smoke generator tanks in November 1942.
Attachments
DD450Fantail-21Jun42.jpg
Rick E Davis
Posts: 3869
Joined: Thu May 29, 2008 8:02 pm

Re: Calling all USS Fletcher class (DD) fans

Post by Rick E Davis »

Rob,

Yes some equipment (like the Mk 32 Torpedo Tubes) during the 1960s was the same on a FLETCHER and a FRAM SUMNER, but not much. Only three of the DDE FLETCHERS received a FRAM mod, and even then there was very little in common. But, in the SUMNER/GEARING thread more people looking for images of that ship or type, will find it.
PeterE
Posts: 35
Joined: Wed Dec 24, 2008 6:22 pm

Re: Calling all USS Fletcher class (DD) fans

Post by PeterE »

Rick E Davis wrote:Pete,

O'BANNON would have had smoke generator tanks in November 1942.
Wow, Rick. Do you live at NARA? :woo_hoo: Many thanks for posting this little gem. First time I see the smoke generators from behind, no matter how distant.

That area below is the auxiliary steering, right? what is that device that kinda looks like a pelorus? And also, the enclosure where the Mk 51 director would have been doesn't have a cut-out where it could be accessed from the 1.1 gun. I'm assuming there were steps on the outside?
Rick E Davis
Posts: 3869
Joined: Thu May 29, 2008 8:02 pm

Re: Calling all USS Fletcher class (DD) fans

Post by Rick E Davis »

The area under the quad 1.1-in mount was the aft (emergency) con station. When they lowered this mount, the aft con station was relocated to the front of the forward stack. I'm really not sure what all was on the "Aft Steering Station" pedestal. I assume the pedestal was a multi-function device for minimal control function.
DD445ClassPlanAftDeckhouse.jpg
Access to the director was from the 1.1-in mount "tub", via a ladder "up and over", as seen in the attached image of FLETCHER during final fitting out by the builder.
DD445AftDeckhouse-26Jun42.jpg
I have made 33 trips to NARA, plus trips to NHHC and other locations from Ohio and have over 3000 images of FLETCHERS alone. :cool_2:
PeterE
Posts: 35
Joined: Wed Dec 24, 2008 6:22 pm

Re: Calling all USS Fletcher class (DD) fans

Post by PeterE »

Rick,

You are one lucky and dedicated guy. Hats off to you. This has probably been asked, but have you thought about writing a book?

And on the topic of the aft con area you posted this photo a while back, thought it would be good to have it included.
DD450x2-21Jun42.jpg
Last edited by PeterE on Fri Aug 30, 2013 3:52 pm, edited 1 time in total.
User avatar
Cadman
Site Admin
Site Admin
Posts: 3618
Joined: Sat Jan 08, 2005 4:31 pm
Location: Plattsburg, Missouri

Re: Re:

Post by Cadman »

PeterE wrote: This link is no longer working. .......... Are they available anywhere else?
Let me check my photo collection and I will get back to you on that.
Timothy Dike
Owner & Administrator
ModelWarships.com
PeterE
Posts: 35
Joined: Wed Dec 24, 2008 6:22 pm

Re: Calling all USS Fletcher class (DD) fans

Post by PeterE »

Rick,
In this photo of Nicholas in 1943 showing her mast, I see the SC-1, SG radar antennas. I know -thanks to you, that the BL did not apply to O"Bannon, but would this be a good representation of a 1942 mast? Thinking of O'Bannon, of course.

I received the TOMs US radar set, which I believe is the only one in 1/350 that has the SC-1 -all others, including WEM's give you the SC-2. Don't have a photo of the SC-1 up close, if you have one, would you please post? I think the SC-1 has some depth to it -i.e. not just a flat, mattress-like profile.
DD449Foremast-24Aug43.jpg
Rick E Davis
Posts: 3869
Joined: Thu May 29, 2008 8:02 pm

Re: Calling all USS Fletcher class (DD) fans

Post by Rick E Davis »

I'm not sure when the BL IFF was installed during 1943, but it wasn't installed during 1942. It appears by July 1943 photo that BL had been installed.

The NICHOLAS mast, minus the BL is representative of the early FLETCHERS equipped with the SC-1. For a short period before the SC-2 was installed, the SA radar was installed. The SA looks similar to the SC in shape, but had rounded corners.

As for photos of the SC-1 radar, I have not found close-up detailed photos yet, but thanks to New York Navy Yard practice of taking the same series of photos of new destroyers, I have a series of shots on DD-445, 446, and 447 which end up showing the SC-1 antenna from thee different aspects. The SC-1 was a mattress type antenna that was spaced away from the mast rotating motor. The photos below show the early SG radar.

Notes on the images in order below;

DD-445 FLETCHER showing backside of SC-1 Antenna

DD-446 RADFORD showing the front of SC-1 Antenna

DD-447 JENKINS showing the side aspect of the SC-1 Antenna
Attachments
SC-1AntennaDD445.jpg
SC-1AntennaDD445.jpg (102.8 KiB) Viewed 3124 times
SC-1AntennaDD446.jpg
SC-1AntennaDD447.jpg
PeterE
Posts: 35
Joined: Wed Dec 24, 2008 6:22 pm

Re: Calling all USS Fletcher class (DD) fans

Post by PeterE »

Rick,

Thanks for these photos. An important gap in my visual map of the O'Bannon has been addressed.

Would you happen to have close-up photos of this area for an early Fletcher? and really the whole first level of the aft con tower (this is the USS Kidd)

Image

Image
Rick E Davis
Posts: 3869
Joined: Thu May 29, 2008 8:02 pm

Re: Calling all USS Fletcher class (DD) fans

Post by Rick E Davis »

Pete, could you be more specific as to what areas you are looking for? Did you check all the images I have posted already in this thread? I know it is some 74 pages long, but there have been a lot of images posted over the years for these early ships.

Some areas I can cover somewhat more, others are next to impossible to find photographic coverage due to blockages (aka 5-in mounts in the way). In general photographic coverage available for the early units is somewhat limited anyway. The "as delivered" views don't include fitting-out "stuff" as is and are more wide area views, rather than close-up detail views.

You already have the best view of the aft con station its self.

Views of the Federal-built units after the 40-mm guns were installed will have some minor differences from the BIW-built units to support the different guns in the "tub".
PeterE
Posts: 35
Joined: Wed Dec 24, 2008 6:22 pm

Re: Calling all USS Fletcher class (DD) fans

Post by PeterE »

Sorry Rick, I should have been more specific.

What I need is the port side (though starboard would also be helpful) of the aft deck's first level, the area enclosed in red in the picture below.

I was inspecting the plans on a Kearny-built mid-war Fletcher and noticed that on the port side the first protrusion (smaller red circle) extends outwards past the floor of the second level. Not by much but would be noticeable in 1/350 scale. However, the picture below (of USS Fletcher which was also built at Federal) matches Tamiya's depiction of this area, and I'm thinking it would also apply for O'Bannon but not sure. This and the fact that I suffer from AMS is prompting this request :crazy:

Image
PeterE
Posts: 35
Joined: Wed Dec 24, 2008 6:22 pm

Re: Calling all USS Fletcher class (DD) fans

Post by PeterE »

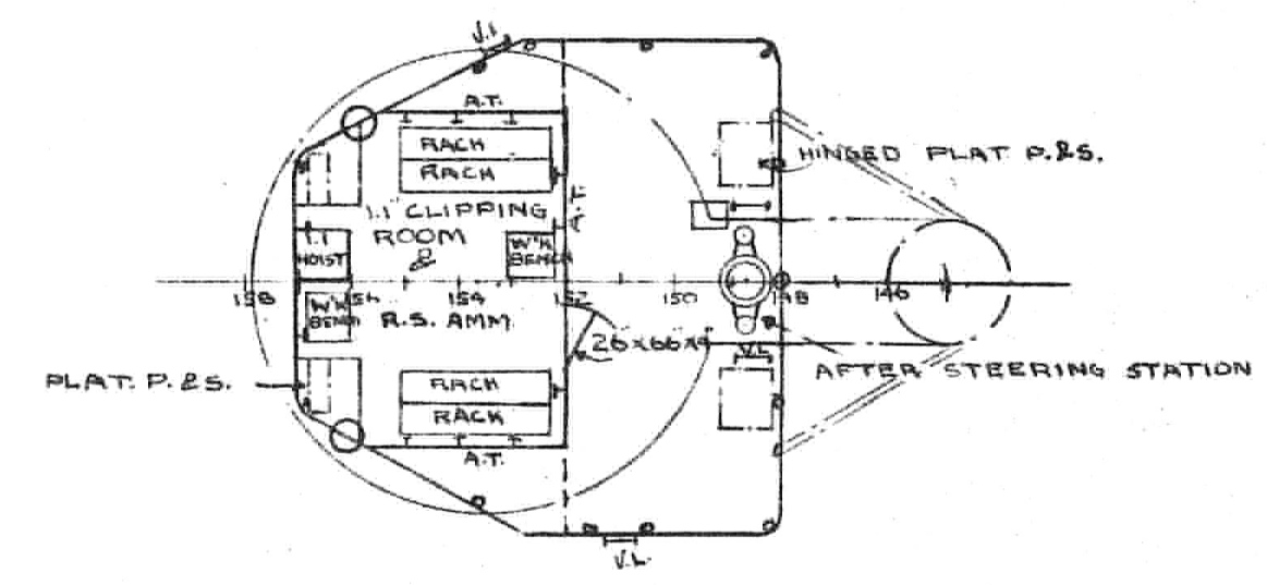
Rick,

Slowly putting the pieces together. I did find these -I have gone thru all 74 pages, it's possible I missed some so will go back again is this one (the beauty is that it is DD-450). The detail showing below the 5 inch gun is the focus of my current search. Wish I had this kind of detail of the rest going aft.
DD450 O'Bannon June 21 1942 torpedos 2.jpg
And the starboard (though this picture is from 1963 it helps some):
DD-450 Strbd Stern.jpg
Rear view of Fletcher, wish it was a higher res:
Image
Rick E Davis
Posts: 3869
Joined: Thu May 29, 2008 8:02 pm

Re: Calling all USS Fletcher class (DD) fans

Post by Rick E Davis »

First off I wouldn't depend on the 1963 photo for much help in her 1942-43 configuration. O'BANNON was one of the converted DDEs and the aft deckhouse was revised quite a bit during that conversion.

If you want to get into this kind of detail, go to destroyerhistory.org ... http://destroyerhistory.org/destroyers/store/ ... and order the BIW FLETCHER Class Engineering Drawings DVD, all of the FLETCHER class configurations that BIW built are on this DVD. It is a little hard to navigate and find what you want, but it is likely there. Changes to the ships after delivery are not covered and would have to come from photos, but the basics are all there for the standard configurations. Well worth the $30.

Here are a series of images of the aft deckhouse area, first one is of FLETCHER, the other two are of O'BANNON followed by a drawing of the deck layout;

Image

The area you asked about appears to be a 20-mm ammo locker.
Attachments
DD450AftDeckhouse-22Jun43.jpg
DD445AftDeckhouse-26Jun42.jpg
DD449-451DeckhousePlan.jpg
PeeJay333
Posts: 27
Joined: Sun Mar 01, 2009 1:28 am

Re: Calling all USS Fletcher class (DD) fans

Post by PeeJay333 »

Reproducer?

I have seen a photograph of a device looking very much like the one with the "speaker horns" on the pilothouse roof of the USS Shields (DD 596) pictured below that is mounted on the mast of a Gearing Class Destroyer and identified as a "reproducer." The best info I could find on the function of a "reproducer" was that it was some type of countermeasures equipment. Is there a better description of its function?

I also note that the date of the 596 photograph is February 1945. Would this type of device have been present on DDs off Okinawa during the Kamikaze attacks?

PeeJay
Attachments
A device similar to the "box" on the pilot house roof with the six speaker horns has been identified as a "reproducer" on a Gearing Class DD.  Wht did it do?
A device similar to the "box" on the pilot house roof with the six speaker horns has been identified as a "reproducer" on a Gearing Class DD. Wht did it do?
Rick E Davis
Posts: 3869
Joined: Thu May 29, 2008 8:02 pm

Re: Calling all USS Fletcher class (DD) fans

Post by Rick E Davis »

Reproducer is a loudspeaker and the amplifier for it/them. Nothing more.

It was on at least some destroyers off Okinawa ... check photos for specific units so equipped.
PeeJay
Posts: 46
Joined: Mon Oct 01, 2012 7:03 pm

Re: Calling all USS Fletcher class (DD) fans

Post by PeeJay »

Rick E Davis wrote:Reproducer is a loudspeaker and the amplifier for it/them. Nothing more.

It was on at least some destroyers off Okinawa ... check photos for specific units so equipped.
Thank you. It was the size that made me think there might have been more to it.

PeeJay
So many ships to model and so little time . . . .
Air-5

Anchor Capstain on Fletchers

Post by Air-5 »

In many picture I have looked at, they show only on Capstain. How dose this work for two anchors? some drawings show only on chain going to the capstain, and on dogged coming out of it howser. As I would like to make a few detail changes to my old kit and finish converting it to a catapult DD, this is a minor but noticable stubbling block.. Any Help
Rick E Davis
Posts: 3869
Joined: Thu May 29, 2008 8:02 pm

Re: Anchor Capstain on Fletchers

Post by Rick E Davis »

This will get moved under the Calling all FLETCHER fans. Right Timmy. :smallsmile:

There was just one capstan on FLETCHERs. The capstan is switched from one anchor/chain to the other as needed. They could drop both anchors at once, but only retrieve one at a time.

Image
Last edited by Timmy C on Fri Oct 25, 2013 9:01 pm, edited 1 time in total.
Reason: Right you are, Rick!
Post Reply

Return to “Destroyers and Frigates”